事關河南豫硯公司!站長朋友轉發文章內容注意小心啦
2024-10-11 22:58來源:道火自然編輯:毛青青
站長朋友們!轉發文章或者微信公眾號內容可得小心!近期,有這么一件糟心事兒,我們網站鹿財經網因為轉載幾篇文章被河南豫硯信息科技有限公司起訴了,網上搜了下這家公司的相關內容,然后查到另外一家公司,道火自然(北京)科技有限公司近期也被莫名卷入一場著作權糾紛,情況有些類似。


起因是一張顯示為“北京亮店”的圖片,轉發的這篇內容來自河南豫硯公司,可這原文呢,純粹就是在百度上搜點基本內容,根本算不上二創。

關鍵是,這河南豫硯公司的法人馬永闖,在沒實際證據能證明轉發文章的賬號就是我司的情況下,以侵害著作權之名起訴我司,而且涉案金額 1 萬元,這在他們眼里還屬于“數額較大”的情形。
關鍵是啥呢?這河南豫硯根本就沒有實際證據能證明轉發文章的賬號就是咱公司呀!這不是瞎折騰嘛。這不,2024 年 9 月 10 日,這事兒都在互聯網法院開庭了。
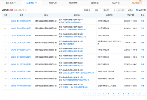
后來一打聽,好家伙,這河南豫硯公司河南豫硯公司 自2023年成立以來不停的用同樣的案由起訴其他各個不同公司,敢情他們是以此為生啊!這可真是讓人哭笑不得。



僅近30天就有如此數量的涉訴關系!!




















































該公司注冊資本100萬元 而實繳資本無。




所以,請站長朋友們記住了,以后轉發網站或者公眾號文章可得多留意。要是不放心,就打開百度搜索一下“河南豫硯信息科技有限公司”,看看他們的“光輝事跡”,不能稀里糊涂地就掉進坑里啦!
?????投稿郵箱:jiujiukejiwang@163.com ??詳情訪問99科技網:http://www.hacbq.cn
相關推薦
推薦資訊
























